Опаковката с шестоъгълни болтове със сигурно закрепване е предназначена да ги поддържа организирани и да предотвратява повреда. Тези опаковъчни кутии се предлагат с мека подплата, която има монтирани слотове. Болтовете се намират в тях чела до чела, така че всеки шестоъгълен болт остава неподвижен. Това ги прави бързи за избиране и поставяне и предотвратява всякакви драскотини при транспортиране. За насипен транспорт шестоъгълните болтове често се опаковат по 500 броя в торба. След това тези торби се поставят във вътрешни кутии и подсилени дървени кутии, за да поддържат товара стабилен. За критични индустрии опциите за опаковане с високи спецификации може да отговарят на строги военни стандарти. Това може да включва запечатани, устойчиви на мазнини и водоустойчиви торбички, които предпазват болтовете от корозия по време на съхранение и транспортиране.
Степента на шестостенния болт показва неговата здравина. Тези маркировки за клас са върху главите на болтовете за лесно разпознаване. Общите класове по ISO включват 4.6, 8.8, 10.9 и 12.9. Клас 8.8 е обикновен болт със средна якост, докато 10.9 и 12.9 са с висока якост и се използват в трудни области като автомобили и строителство. Стандартите на ASTM като A307 и A325 също определят производителността на болта. Изборът на правилната степен на шестостенен болт за сигурно закрепване е от ключово значение за безопасността, тъй като гарантира, че болтът може да издържи товара без повреда.
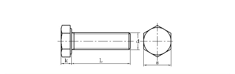
| мм | |||||||
| d | S | k | d | Нишка | |||
| макс | мин | макс | мин | макс | мин | ||
| М3 | 5.32 | 5.5 | 1.87 | 2.12 | 2.87 | 2.98 | 0.5 |
| M4 | 6.78 | 7 | 2.67 | 2.92 | 3.83 | 3.98 | 0.7 |
| M5 | 7.78 | 8 | 3.35 | 3.65 | 4.82 | 4.97 | 0.8 |
| M6 | 9.78 | 10 | 3.85 | 4.14 | 5.79 | 5.97 | 1 |
| M8 | 12.73 | 13 | 5.15 | 5.45 | 7.76 | 7.97 | 1.25 |
| M10 | 15.73 | 16 | 6.22 | 6.58 | 9.73 | 9.96 | 1.5 |
| M12 | 17.73 | 18 | 7.32 | 7.68 | 11.7 | 11.96 | 1.75 |
| M14 | 20.67 | 21 | 8.62 | 8.98 | 13.68 | 13.96 | 2 |
| M16 | 23.67 | 24 | 9.82 | 10.18 | 15.68 | 15.96 | 2 |
| М18 | 26.67 | 27 | 11.28 | 11.7 | 17.62 | 17.95 | 2.5 |
| М20 | 29.67 | 30 | 12.28 | 12.71 | 19.62 | 19.95 | 2.5 |
Можете ли да обясните опциите за състава на материала и защитата от корозия за вашите шестоъгълни болтове за сигурно закрепване?
Ние произвеждаме нашите шестостенни болтове от различни материали като нисковъглеродна стомана, по-здрава легирана стомана и неръждаема стомана (A2-304 и A4-316). За защита от ръжда предлагаме покрития като електро-поцинкован цинк, горещо поцинковане и Dacromet. Изборът на правилното покритие има значение за това колко дълго издържа болтът, особено на трудни места като строителни площадки или близо до морето.
