Когато получите рентабилен шплинт, той може да дойде със сертификат за качество. Това всъщност е документация, която казва, че шплинтът е проверен и отговаря на определени стандарти.
Сертификатът изброява подробности за шплинта - кой го е направил, от какво е направен, неговия размер и от коя партида идва. Това показва, че шплинтът е тестван за неща като здравина, точност на размера и дали се огъва правилно, без да се счупи. Те също така проверяват дали повърхностната обработка, като поцинковане, е извършена правилно.
Сертификатът е подписан и подпечатан от инспекторите, извършили тестовете. Тази документация е полезна за фирми, които трябва да докажат, че техният шплинт отговаря на специфични изисквания, особено в отрасли като автомобилостроенето или производството, където проследяването на качеството е важно. По същество това е вашата гаранция, че шплинтът е правилно проверен, преди да го получите.
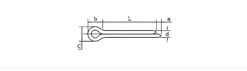
| d | 0.6 | 0.8 | 1 | 1.2 | 1.5 | 2 | 2.5 | 3.2 | 4 | 5 | 6.3 | 8 | 10 | 13 | 16 | 20 | |
| d | макс | 0.5 | 0.7 | 0.9 | 1 | 1.4 | 1.8 | 2.3 | 2.9 | 3.7 | 4.6 | 5.9 | 7.5 | 9.5 | 12.4 | 15.4 | 19.3 |
| мин | 0.4 | 0.6 | 0.8 | 0.9 | 1.3 | 1.7 | 2.1 | 2.7 | 3.5 | 4.4 | 5.7 | 7.3 | 9.3 | 12.1 | 15.1 | 19 | |
| a | макс | 1.6 | 1.6 | 1.6 | 2.5 | 2.5 | 2.5 | 2.5 | 3.2 | 4 | 4 | 4 | 4 | 6.3 | 6.3 | 6.3 | 6.3 |
| мин | 0.8 | 0.8 | 0.8 | 1.25 | 1.25 | 1.25 | 1.25 | 1.6 | 2 | 2 | 2 | 2 | 3.15 | 3.15 | 3.15 | 3.15 | |
| b≈ | 2 | 2.4 | 3 | 3 | 3.2 | 4 | 5 | 6.4 | 8 | 10 | 12.6 | 16 | 20 | 26 | 32 | 40 | |
| C | макс | 1 | 1.4 | 1.8 | 2 | 2.8 | 3.6 | 4.6 | 5.8 | 7.4 | 9.2 | 11.8 | 15 | 19 | 24.8 | 30.8 | 38.5 |
| мин | 0.9 | 1.2 | 1.6 | 1.7 | 2.4 | 3.2 | 4 | 5.1 | 6.5 | 8 | 10.3 | 13.1 | 16.6 | 21.7 | 27 | 33.8 | |
Разходоефективният шплинт се използва главно за предпазване на части от разхлабване в машини, автомобили и оборудване. Неговата задача е да спира болтове, валове или други щифтове от изплъзване поради вибрации. Например, в кола често ще намерите шплинт в главините на колелата или окачването, за да запазите нещата в безопасност.
Във фабричните машини може да се използва шплинт в панти или подвижни съединения, за да се поддържа всичко подравнено. На лодки може да държи хардуер като зацепки на място. За ежедневна употреба можете да използвате шплинт, за да закрепите нож за косачка или педал на велосипед. Просто пъхнете шплинта през дупка и огънете двата зъба един от друг – това е лесен начин да направите връзка, която се държи сигурно, но въпреки това може да бъде премахната, когато е необходимо.
Въпрос: Можете ли да предоставите сертификат за вашия рентабилен шплинт?
Отговор: Да, можем да ви дадем материален сертификат за щифта. Това показва, че отговаряме на стандарти като ISO 1234. Това гарантира, че разделените щифтове, които получавате, проверяват с механичните и размерните спецификации, за които се съгласихме.
